Кога ќе добиете исплатлив сплит пин, може да дојде со сертификат за квалитет. Ова е во основа документација која вели дека сплит пинот е проверен и исполнува одредени стандарди.
Сертификатот наведува детали за сплит пинот - кој го направил, од што е направен, неговата големина и од која серија доаѓа. Покажува дека сплит иглата е тестирана за работи како што се силата, точноста на големината и дали правилно се свиткува без да се скрши. Тие, исто така, проверуваат дали површинскиот третман, како обложување со цинк, е правилно направен.
Сертификатот е потпишан и печат од инспекторите кои ги направиле тестовите. Оваа документација е корисна за бизниси кои треба да докажат дека нивниот сплит игла ги исполнува специфичните барања, особено во индустриите како автомобилската или производството каде што е важно следењето на квалитетот. Во основа, тоа е ваше уверување дека сплит-пинот е правилно проверен пред да го примите.
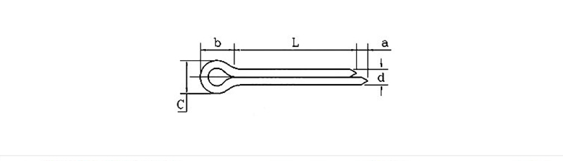
| d | 0.6 | 0.8 | 1 | 1.2 | 1.5 | 2 | 2.5 | 3.2 | 4 | 5 | 6.3 | 8 | 10 | 13 | 16 | 20 | |
| d | макс | 0.5 | 0.7 | 0.9 | 1 | 1.4 | 1.8 | 2.3 | 2.9 | 3.7 | 4.6 | 5.9 | 7.5 | 9.5 | 12.4 | 15.4 | 19.3 |
| мин | 0.4 | 0.6 | 0.8 | 0.9 | 1.3 | 1.7 | 2.1 | 2.7 | 3.5 | 4.4 | 5.7 | 7.3 | 9.3 | 12.1 | 15.1 | 19 | |
| a | макс | 1.6 | 1.6 | 1.6 | 2.5 | 2.5 | 2.5 | 2.5 | 3.2 | 4 | 4 | 4 | 4 | 6.3 | 6.3 | 6.3 | 6.3 |
| мин | 0.8 | 0.8 | 0.8 | 1.25 | 1.25 | 1.25 | 1.25 | 1.6 | 2 | 2 | 2 | 2 | 3.15 | 3.15 | 3.15 | 3.15 | |
| b≈ | 2 | 2.4 | 3 | 3 | 3.2 | 4 | 5 | 6.4 | 8 | 10 | 12.6 | 16 | 20 | 26 | 32 | 40 | |
| C | макс | 1 | 1.4 | 1.8 | 2 | 2.8 | 3.6 | 4.6 | 5.8 | 7.4 | 9.2 | 11.8 | 15 | 19 | 24.8 | 30.8 | 38.5 |
| мин | 0.9 | 1.2 | 1.6 | 1.7 | 2.4 | 3.2 | 4 | 5.1 | 6.5 | 8 | 10.3 | 13.1 | 16.6 | 21.7 | 27 | 33.8 | |
Ефективниот сплит пин главно се користи за да не се олабават деловите во машините, автомобилите и опремата. Неговата задача е да спречи завртки, шахти или други иглички да се лизгаат надвор поради вибрации. На пример, во автомобилот, често ќе најдете клин за расцеп во главините на тркалата или суспензијата за да ги зачувате работите безбедни.
Во фабричките машини, може да се користи сплит игла во шарките или подвижните зглобови за да се одржи сè подредено. На чамци, може да го држи хардверот како штипки на место. За секојдневна употреба, може да користите сплит игла за да прицврстите сечило за косилка или педала за велосипед. Едноставно ја туркате иглата за расцепување низ дупка и ги свиткувате двата ограда – тоа е едноставен начин да се направи спој кој безбедно се држи, но сепак може да се отстрани кога е потребно.
Прашање: Дали можете да обезбедите сертификат за вашиот рентабилен сплит пин?
Одговор: Да, можеме да ви дадеме материјална потврда за пинот. Тоа покажува дека ги исполнуваме стандардите како ISO 1234. Ова осигурува дека сплит-пиновите што ги добивате ги проверуваат со механичките и димензионалните спецификации за кои се договоривме.
